Инновационная технология для повышения качества резьбовых деталей в машиностроении
В машиностроении существует необходимость в создании высокопрочных и износостойких деталей, особенно в элементах с резьбовыми соединениями. Одним из перспективных решений в этой области является технология электромеханической поверхностной закалки (ЭМПЗ), которая обеспечивает повышение эксплуатационных характеристик деталей при снижении производственных затрат.
Для достижения долговечности деталей требуется увеличение их твердости и прочности. Традиционные методы термической обработки, такие как печная закалка или индукционный нагрев, имеют определенные ограничения.
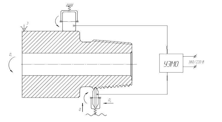
Технология ЭМПЗ основывается на использовании концентрированных потоков энергии, что позволяет проводить поверхностную закалку без повреждения внутренней структуры материала. Это делает ее особенно подходящей для сложных деталей с резьбами, отверстиями и другими специфическими формами.
В Московском государственном техническом университете имени Н. Э. Баумана было разработано специализированное оборудование для ЭМПЗ резьбовых элементов бурильных труб. На предприятии «Александровский завод бурового оборудования» данная технология уже успешно внедрена. Исследования показали, что применение ЭМПЗ приводит к изменению микроструктуры металла и повышению его твердости на поверхности.
Экспериментальные испытания, проведенные на заводе «Ковровский завод бурового оборудования», подтвердили эффективность технологии ЭМПЗ для резьбовых деталей. Например, переводники, обработанные методом электромеханической поверхностной закалки, выдержали 978 циклов навинчивания и свинчивания, что свидетельствует о значительном увеличении их износостойкости.
Таким образом, технология электромеханической поверхностной закалки представляет собой перспективное направление для повышения качества резьбовых деталей в машиностроении. Она обеспечивает значительное улучшение эксплуатационных характеристик изделий при оптимизации производственных процессов и снижении затрат.

