Завод «Металл Сервис» приступил к производству крановых колес, что является новым направлением в деятельности предприятия. Завод обладает возможностью выполнения как мелкосерийных заказов, так и крупных партий однотипных изделий.
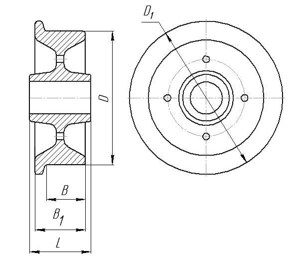
Крановые колеса подразделяются на различные типы в зависимости от конструкции обода. Производство осуществляется в соответствии с требованиями государственного стандарта ГОСТ 28648-90.
Процесс изготовления крановых колес включает несколько этапов. Первоначально формируется песчаная форма, в которую затем заливается расплавленный металл с использованием компьютерного управления для обеспечения высокой точности.
После затвердевания металла изделие подвергается механической обработке на специализированных станках. Далее колесо подвергается термической обработке, включающей нагрев для достижения необходимой пластичности, последующую обработку и закалку для повышения прочности.
Завершающим этапом является контроль качества на прочность, после которого изделие окрашивается и упаковывается для транспортировки.
Кроме производства крановых колес, завод «Металл Сервис» предоставляет услуги по изготовлению различных деталей для кранов. В случае необходимости выполнения нестандартных заказов, специалисты предприятия готовы предложить индивидуальные решения.
Дополнительная информация и контакты для связи доступны на официальном сайте завода: mc24.ru.

